發布時間:2024-04-15 |
瀏覽量:800
技術領域
本實用新型涉及半導體器件技術領域,特別涉及一種半導體器件框架。
背景技術
半導體器件是導電性介于良導電體與絕緣體之間,利用半導體材料特殊電特性來完成特定功能的電子器件,可用來產生、控制、接收、變換、放大信號和進行能量轉換,半導體器件的半導體材料是硅、鍺或砷化鎵,可用作整流器、振蕩器、發光器、放大器、測光器等器材,為了與集成電路相區別,有時也稱為分立器件,絕大部分二端器件(即晶體二極管)的基本結構是一個PN結。
而半導體全包封功率器件,在某些高壓應用場景,要求塑封體四面需滿足V高壓絕緣測試;除底部引腳外,管體的前后左右均由樹脂料包封,以保證其絕緣性能。
目前框架載芯板上由于未設置輔助固定結構,從而導致封裝生產過程中,載芯板位置不穩定,易發生前后、左右的變形,造成變形位置的樹脂料厚度不足,從而影響絕緣性能,使得產品無法滿足V絕緣測試的要求。
實用新型內容
基于此,本實用新型的目的是提供一種半導體器件框架,旨在解決此問題。
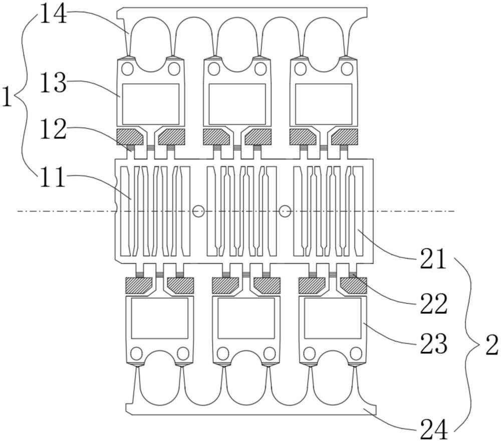
通過塑封膠包封,半導體器件框架包括上框總成以及設置在上框總成底部的下框總成,上框總成包括與下框總成連接的第一外引腳、設置在第一外引腳上遠離下框總成一側的多根第一引線、與多根第一引線上遠離第一外引腳一側連接的第一載芯板以及第一載芯板上遠離第一引線一側向外延伸出的上連筋,其中,上框總成與下框總成相同且呈相對設置。
通過在第一載芯板及第二載芯板上分別加設上連筋及下連筋,能夠確保相鄰的兩塊第一載芯板以及相鄰的兩塊第二載芯板之間的間距相同以及提高結構穩定,從而側面提高了分別與第一載芯板連接的第一引線和第一外引腳以及分別與第二載芯板連接的第二引線和第二外引腳之間的結構穩定,避免上述結構受第一載芯板或第二載芯板形變影響造成跟隨形變的情況,解決了目前框架載芯板上由于未設置輔助固定結構,從而導致載芯板處在封裝生產過程中存在不穩定性,以使載芯板易發生前后、左右的變形,造成變形位置的樹脂料厚度不足,從而影響產品的絕緣性能,使得產品無法滿足V絕緣測試的要求的問題。
另外,還可以具有如下的附加技術特征:
下框總成包括與第一外引腳固定連接的第二外引腳、第二外引腳上遠離第一外引腳一側設置的多根第二引線、設置在多根第二引線上遠離第二外引腳一側的第二載芯板以及第二載芯板上遠離第二引線一側向外延伸出的下連筋。
第一載芯板中部空置有容置芯片的載芯槽。
第一載芯板上靠近上連筋一側開設有兩鎖膠孔。
第一載芯板上靠近第一引線一側設置有兩焊腳。
第一引線和第二引線均設置有三根。
上連筋包括與第一載芯板連接的多根連接部以及將多根連接部串連的固定部。
連接部在第一載芯板上共設置有兩根。
主要元件符號說明:
上框總成 | 1 | 下框總成 | 2 | 塑封膠 | 3 |
第一外引腳 | 11 | 第二外引腳 | 21 | ||
第一引線 | 12 | 第二引線 | 22 | ||
第一載芯板 | 13 | 第二載芯板 | 23 | ||
載芯槽 | 131 | 下連筋 | 24 | ||
焊腳 | 132 | ||||
鎖膠孔 | 133 | ||||
上連筋 | 14 | ||||
連接部 | 141 | ||||
固定部 | 142 |




